S272CD - Procesní pH senzor

S272CD - Procesní pH senzor

S272CDTC-PT1-10-TL-TL
Řada S272 poskytuje spolehlivé online měření pH při instalaci v potrubí i při ponoření. Technologie dvojité referenční komory a ploché skleněné čidlo prodlužují životnost a snižují nároky na údržbu.
Connector : Cínované vodiče
Temperature Compensation : 100Ω RTD
Beeilen Sie sich! 100 noch Artikel auf Lager.
641 €
S DPH
Počet

S272CD online procesní pH senzor poskytuje spolehlivé online monitorování při instalaci v potrubí i při ponoření. Tento senzor je navržen pro prodloužení životnosti díky technologii s dvojitou referenční komorou a robustnímu tělu z Ryton® PPS. Díky plochému skleněnému měřicímu povrchu vyžaduje minimální údržbu. Univerzální senzor pro středně náročné a víceúčelové aplikace.

  • Spolehlivý provoz v náročných aplikacích: Proud kapaliny přirozeně čistí plochý pH měřicí povrch
  • Prodloužená životnost senzoru: Technologie dvojité referenční komory prodlužuje životnost senzoru tím, že zabraňuje kontaminaci referenčního systému
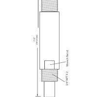
  • Univerzální provedení pro mnoho aplikací: 3/4″ NPT závity na obou koncích pro ponoření nebo montáž v potrubí
  • Jednoletá omezená záruka: Za všechny naše výrobky ručíme zárukou Sensorex

Poznámka: Pro kompatibilitu s převodníky Sensorex vyberte možnosti senzoru s cínovanými vodiči (TL) a 1000Ω RTD (P1K)

Obyvatelé KalifornieVarování Prop 65

Pro optimální trvanlivost skladujte senzory při 15-30°C.



  • Rozsah měření pH: 0 – 14 pH (sodíková chyba při pH > 12,3)
    Materiál těla: Ryton® Polyphenylene Sulfide (PPS)
    Rozsah teplot: 0-100°C (32-212°F)
    Maximální tlak: 100 psig
    Délka kabelu: 3m (10ft)
    Konektor: BNC nebo cínované vodiče Standardně nebo na zakázku (na vyžádání)
    Procesní připojení: 3/4” NPT závit
    Poznámka: Pro kompatibilitu s převodníky Sensorex vyberte možnosti senzoru s cínovanými vodiči (TL) a 1000Ω RTD (P1K)



Hmotnost0.50 lbs
Rozměry8.25 × 2.25 × 2.25 in
Teplotní kompenzace1000Ω RTD, 100Ω RTD, None

Naše řada S272 senzorů pH poskytuje spolehlivé online měření pH při instalaci v potrubí i při ponoření. Prodloužená životnost senzoru díky technologii dvojité referenční komory. Minimální údržba díky plochému skleněnému měřicímu povrchu. Univerzální senzor pro středně náročné a víceúčelové aplikace.

  • Spolehlivý provoz v náročných aplikacích
  • Prodloužená životnost senzoru
  • Univerzální provedení pro ponoření nebo montáž v potrubí
  • Jednoletá omezená záruka
: S272CDTC-PT1-10-TL-TL
Beeilen Sie sich! 100 noch Artikel auf Lager.

Parametry

Rozsah měření pH
0 - 14 pH (chyba způsobená ionty sodíku, když 12.3 > pH)
Maximální tlak
100 psig
Rozměry
8,25 x 2,25 x 2,25 in
Aplikace
Akvakultura a akvárium, Životní prostředí, Hydroponie a zemědělství, Průmyslové čištění vody a odpadních vod, Městské čištění vody a odpadních vod, Online senzory, pH, Položka na skladě
Poznámka
Pro kompatibilitu s vysílači Sensorex vyberte možnosti senzoru Tinned Leads (TL) a 1000Ω RTD (P1K)
Procesní připojení
3/4" NPT se závitem
Délka kabelu
3m (10ft)
Materiál těla
Ryton® polyfenylsulfid (PPS)
Rozsah teplot
0-100°C (32-212°F)
Teplotní kompenzace
1000Ω RTD, 100Ω RTD, Žádný
Konektor
BNC nebo pocínované vodiče, standardní nebo na zakázku (na vyžádání)
Hmotnost
0.50 lbs