S272CD-ORP-MA y S272CD-ORP-MB - sensores ORP inteligentes para proceso en línea

S272CD-ORP-MA y S272CD-ORP-MB - Sensores ORP inteligentes, proceso en línea

S272CD-ORP-MB/10/TL/TL
Sondas ORP S272 para aguas moderadamente contaminadas; diseño de doble unión y superficie plana autolimpiante que prolonga la vida útil y reduce el mantenimiento. Adecuadas para inmersión o montaje en línea; opciones de salida en mV, 4-20 mA o MODBUS/RS485.
Interface : MODBUS 485
Cable Length : 10 pies (3 metros)
¡Apúrense! 100 aún hay artículos en stock.
1.630 €
Impuestos incluidos
Cantidad

El agua moderadamente contaminada, como el agua de origen industrial o los recursos hídricos naturales, puede contener productos químicos y residuos que dañan los componentes de las sondas ORP. El control continuo en este tipo de aplicaciones requiere una sonda ORP industrial duradera y de bajo mantenimiento. Nuestra serie S272 de sondas ORP presenta un diseño de doble unión para proteger la celda de referencia de la contaminación por componentes de la muestra que interactúan con la plata. La superficie de medición plana es autolimpiante y resiste roturas, lo que minimiza el mantenimiento. El cuerpo resistente de Ryton permite ensayos en una variedad de entornos químicos hasta 100⁰C.

  • Rendimiento fiable en aplicaciones exigentes: El flujo de líquido limpia de forma natural la superficie plana de medición ORP
  • Mayor vida útil del sensor: La tecnología de doble unión prolonga la vida útil del sensor al evitar la contaminación de la referencia
  • Opciones de salida incluidas: Milivoltios, 4-20 mA o salida MODBUS/RS485
  • Opciones de tensión de entrada: 24V DC
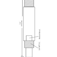
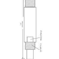
  • Diseño versátil para muchas aplicaciones: Roscas 3/4″ NPT en ambos extremos para inmersión o montaje en línea
  • Garantía limitada de un año: Respaldamos todos nuestros productos con la Garantía Sensorex

Residentes de CAADVERTENCIA(S) Prop 65

Para una vida útil óptima, almacene los sensores a 15-30°C.



  • Rango de medición ORP: ± 2000mV
    Material del cuerpo: Ryton® Polifenilsulfuro (PPS)
    Rango de temperatura: 0-100°C (32-212°F)
    Presión máxima: 100 psig
    Longitud del cable: 3m (10ft)
    Conector: Cables estañados estándar
    Conexión de proceso: Rosca 3/4” NPT



Weight0.48 lbs
Dimensions8.25 × 2.25 × 2.25 in
Cable Length10 feet (3 meters), 20 feet (6 meters)
Interface4-20 mA, MODBUS 485

El agua moderadamente contaminada, como el agua de origen industrial o los recursos hídricos naturales, puede contener productos químicos y residuos que dañan los componentes de las sondas ORP. El control continuo en este tipo de aplicaciones requiere una sonda ORP duradera y de bajo mantenimiento. Nuestra serie S272 de sondas ORP presenta un diseño de doble unión para proteger la celda de referencia de la contaminación por componentes de la muestra que interactúan con la plata. La superficie de medición plana es autolimpiante y resiste roturas, lo que minimiza el mantenimiento.

  • Rendimiento fiable en aplicaciones exigentes
  • Mayor vida útil del sensor
  • Diseño versátil para inmersión o montaje en línea
  • Garantía limitada de un año
: S272CD-ORP-MB/10/TL/TL
¡Apúrense! 100 aún hay artículos en stock.

Ficha técnica

Dimensiones
8.25 x 2.25 x 2.25 in
Aplicaciones
Hidroponía y agricultura, sensores en línea, ORP, sensores inteligentes
Conexión de proceso
Rosca NPT 3/4\"
Presión máxima
100 psig
Rango de medición O RP
± 2000mV
Longitud del cable
3 m (10 ft)
10 pies (3 metros), 20 pies (6 metros)
Material del cuerpo
Ryton® sulfuro de polifenileno (PPS)
Rango de temperatura
0-100°C (32-212°F)
Conector
Cables estañados estándar
Interfaz
4-20 mA, MODBUS 485
Peso
0.48 lbs