S272CD-ORP - sensor ORP, proceso en línea

S272CD-ORP - Sensor ORP para proceso en línea

S272CD-ORP/20/TL
Sensor ORP robusto y de bajo mantenimiento con junta doble y superficie plana autolimpiante para entornos industriales; apto para inmersión o montaje en línea y con garantía limitada de un año.
Conector : Cables estañados
Longitud del cable : 20 pies (6 metros)
¡Apúrense! 100 aún hay artículos en stock.
716 €
Impuestos incluidos
Cantidad

El agua moderadamente contaminada, como el agua de origen industrial o los recursos hídricos naturales, puede contener químicos y residuos que dañan los componentes de las sondas ORP. El control continuo en este tipo de aplicaciones requiere una sonda ORP industrial duradera y de bajo mantenimiento. Nuestra serie S272 de sondas ORP cuenta con un diseño de doble junta para proteger la celda de referencia de la contaminación por componentes de la muestra que interactúan con la plata. La superficie plana de medición es autolimpiante y resiste fracturas, lo que minimiza el mantenimiento. El cuerpo resistente de Ryton® permite realizar pruebas en una variedad de entornos químicos hasta 100⁰C.

  • Rendimiento fiable en aplicaciones exigentes: El flujo del líquido limpia de forma natural la superficie plana de medición ORP
  • Vida útil prolongada del sensor: La tecnología de doble junta extiende la vida útil del sensor al prevenir la contaminación de la referencia
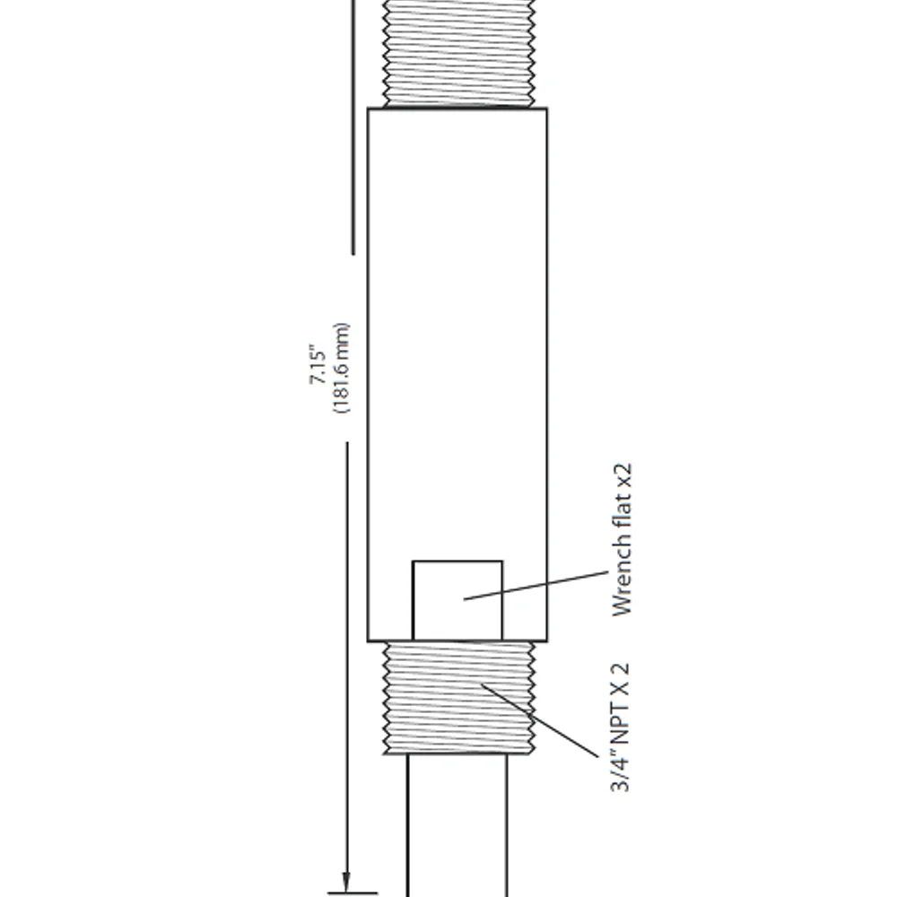
  • Diseño versátil para múltiples aplicaciones: Roscas 3/4″ NPT en ambos extremos para inmersión o montaje en línea
  • Garantía limitada de un año: Respaldamos todos nuestros productos con la garantía Sensorex

Residentes de CAAdvertencia(s) Prop 65

Para una vida útil óptima, almacene los sensores a 15-30°C.



  • Rango de medición ORP: ± 2000mV
    Body Material: Ryton® Polyphenylene Sulfide (PPS)
    Rango de temperatura: 0-100°C (32-212°F)
    Presión máxima: 100 psig
    Longitud del cable: 3m (10ft) o 6m (20ft)
    Conector: BNC o Tinned Leads Standard
    Conexión de proceso: Rosca 3/4” NPT Threaded



Peso0.48 lbs
Dimensiones8.25 × 2.25 × 2.25 in
ConectorBNC, Tinned Leads
Longitud del cable10 feet (3 meters), 20 feet (6 meters)

El agua moderadamente contaminada, como el agua de origen industrial o los recursos hídricos naturales, puede contener químicos y residuos que dañan los componentes de las sondas ORP. El control continuo en este tipo de aplicaciones requiere una sonda ORP duradera y de bajo mantenimiento. Nuestra serie S272 de sondas ORP cuenta con un diseño de doble junta para proteger la celda de referencia de la contaminación por componentes de la muestra que interactúan con la plata. La superficie plana de medición es autolimpiante y resiste fracturas, lo que minimiza el mantenimiento.

  • Rendimiento fiable en aplicaciones exigentes
  • Vida útil prolongada del sensor
  • Diseño versátil para inmersión o montaje en línea
  • Garantía limitada de un año
: S272CD-ORP/20/TL
¡Apúrense! 100 aún hay artículos en stock.

Ficha técnica

Dimensiones
8,25 x 2,25 x 2,25 in
Aplicaciones
Sensores en línea, ORP
Conexión de proceso
3/4" NPT roscado
Presión máxima
100 psig
Rango de medición O RP
± 2000mV
Longitud del cable
3 m (10 ft) o 6 m (20 ft)
10 pies (3 metros), 20 pies (6 metros)
Material del cuerpo
Ryton® polifenilsulfuro (PPS)
Rango de temperatura
0-100°C (32-212°F)
Conector
BNC, cables estañados
BNC o cables estañados estándar
Peso
0.48 lbs