S272CD-ORP-MA e S272CD-ORP-MB - sensori ORP intelligenti per processo online

S272CD-ORP-MA e S272CD-ORP-MB - Sensori ORP Smart per processo online

S272CD-ORP-MB/10/TL/TL
Sonde ORP serie S272 con design a doppia giunzione e superficie di misura piatta autolavante per minima manutenzione. Corpo in Ryton resistente fino a 100°C, adatte a immersione o montaggio in linea, garanzia limitata di un anno.
Interfaccia : MODBUS 485
Lunghezza cavo : 10 piedi (3 metri)
Sbrigatevi! 100 ancora articoli in magazzino.
41.097 Kč
Tasse incluse
Quantità

L'acqua moderatamente contaminata, come le acque di presa industriali o le risorse idriche naturali, può contenere sostanze chimiche e detriti che danneggiano i componenti della sonda ORP. Il monitoraggio continuo in questo tipo di applicazioni richiede una sonda ORP industriale robusta e a bassa manutenzione. La nostra serie S272 di sonde ORP presenta un design a doppia giunzione per proteggere la cella di riferimento dalla contaminazione da parte di componenti del campione che reagiscono con l'argento. La superficie di misura piatta è autolavante e resistente alle rotture, per una manutenzione minima. Il robusto corpo in Ryton consente prove in una gamma di ambienti chimici fino a 100⁰C.

  • Prestazioni affidabili in applicazioni gravose: Il flusso del liquido pulisce naturalmente la superficie di misura ORP piatta
  • Maggiore durata del sensore: La tecnologia a doppia giunzione prolunga la vita del sensore prevenendo la contaminazione del riferimento
  • Opzioni di uscita includono: Millivolt, 4-20 mA o uscita MODBUS/RS485
  • Opzioni di tensione d'ingresso: 24V DC
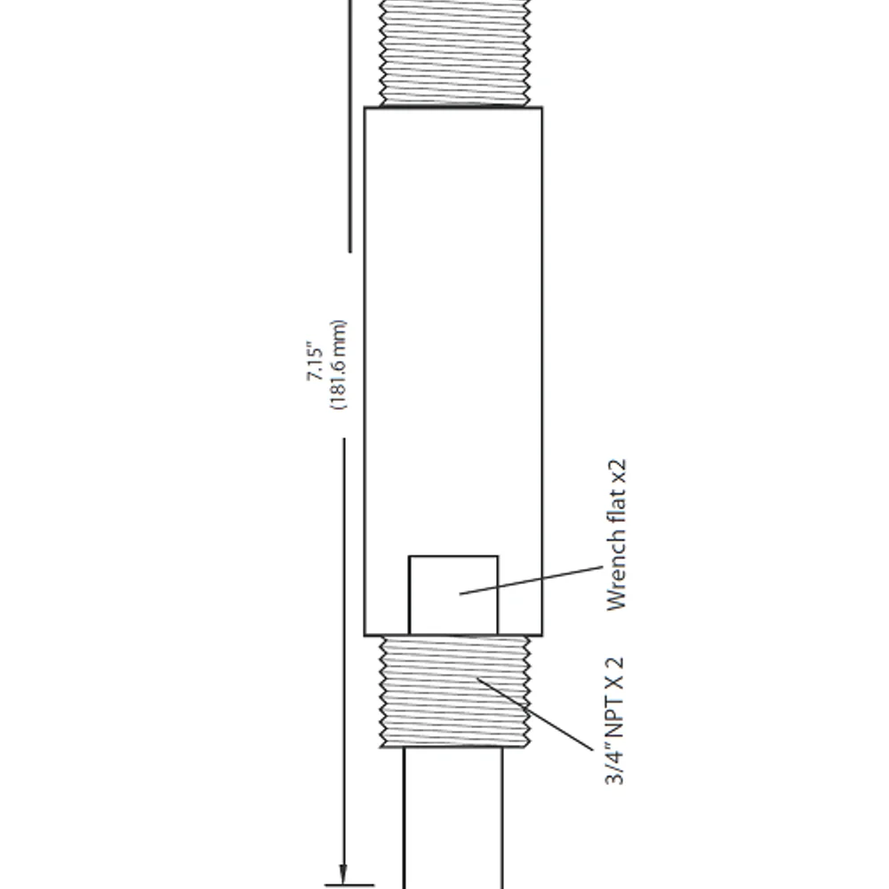
  • Design versatile per molte applicazioni: Filettatura 3/4″ NPT su entrambe le estremità per immersione o montaggio in linea
  • Garanzia limitata di un anno: Sosteniamo tutti i nostri prodotti con la Garanzia Sensorex

Residenti della CaliforniaAvviso Prop 65

Per una conservazione ottimale, conservare i sensori a 15-30°C.



  • Campo di misura ORP: ± 2000mV
    Materiale del corpo: Ryton® Polifenilene solfuro (PPS)
    Intervallo di temperatura: 0-100°C (32-212°F)
    Pressione massima: 100 psig
    Lunghezza cavo: 3m (10ft)
    Connettore: conduttori stagnati standard
    Connessione di processo: filettatura 3/4” NPT



Peso0.48 lbs
Dimensioni8.25 × 2.25 × 2.25 in
Lunghezza cavo10 feet (3 meters), 20 feet (6 meters)
Interfaccia4-20 mA, MODBUS 485

L'acqua moderatamente contaminata, come le acque di presa industriali o le risorse idriche naturali, può contenere sostanze chimiche e detriti che danneggiano i componenti della sonda ORP. Il monitoraggio continuo in questo tipo di applicazioni richiede una sonda ORP robusta e a bassa manutenzione. La nostra serie S272 di sonde ORP presenta un design a doppia giunzione per proteggere la cella di riferimento dalla contaminazione da parte di componenti del campione che reagiscono con l'argento. La superficie di misura piatta è autolavante e resistente alle rotture, per una manutenzione minima.

  • Prestazioni affidabili in applicazioni gravose
  • Maggiore durata del sensore
  • Design versatile per immersione o montaggio in linea
  • Garanzia limitata di un anno
: S272CD-ORP-MB/10/TL/TL
Sbrigatevi! 100 ancora articoli in magazzino.

Scheda tecnica

Applicazioni
Idroponica e agricoltura, sensori online, ORP, sensori intelligenti
Connessione di processo
3/4" NPT filettato
Pressione massima
100 psig
Intervallo di misura O RP
± 2000mV
Dimensioni
8,25 x 2,25 x 2,25 in
Lunghezza del cavo
3m (10ft)
10 piedi (3 metri), 20 piedi (6 metri)
Materiale del corpo
Ryton® polifenilene solfuro (PPS)
Intervallo di temperatura
0-100°C (32-212°F)
Connettore
Conduttori stagnati standard
Interfaccia
4-20 mA, MODBUS 485
Peso
0.48 lbs